Новое железо — Shimano придумывают новое крепления переключателя
Японцы снова пытаются придумать новое крепление переключателя. Компания смирилась с распространением Direct Mount стандарта под UDH-переключатели и теперь пытается придумать своё крепление, которое не будет проигрывать в жесткости и его можно будет смонтировать на посадочное под Direct Mount.
Если поглядеть на анонс первых беспроводных линеек переключателей Shimano — понятно, что компания всё ещё придерживается мнения, что в случае внештатной ситуации крепление переключателя должно сломаться раньше чем сам переключатель или рама. Но плюсы более жесткой фиксации и соответственно более точного переключения передач, которые есть у переключателей с Direct Mount креплением, трудно не замечать.
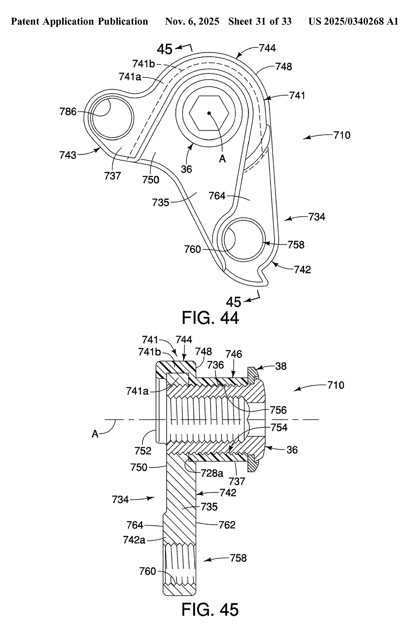
Пинк сообщает, что свежем патенте US №2025/0340268 A1 от 6 ноября 2025 года (заявка подана 2 мая 2024) Shimano предлагает несколько альтернативных креплений для переключателя. Самое странное исполнение можно увидеть в заглавии поста. Все вариации крепления под переключатель в патенте сделаны под Direct Mount крепление к раме.
Интересно, что на фото переключатели изображены с 13-скоростной кассетой.
Появление 13-скоростных трансмиссий мы пока не ожидаем. Да и непонятно, кто из производителей рам вместо cвободного и обкатанного UDH под Sram решит комплектовать рамы креплением под Shimano — вопрос открытый.
-
добавить в избранное
- +49
- Мнения
?
Комментировать
Зарегистрируйтесь или авторизуйтесь. Сделайте что-нибудь.





Комментарии (17)
atotheetothez
yurtsa
schmel
IUSius
Zato1
schmel
Zato1
Legnar
reat
а случился бы срэм без нее?
конкуренция это отлично — пусть продолжают обе корпорации в том же духе.
stan
amstafff
NixonElite
DeBill
— На полу валяется, на Н называется!
...
— Шимано!
— А почему на Н?!
— Не нужно!
pustota
77stalker77
sayrius
lokki