Новое железо — Specialized патентуют трансмиссию с двумя цепями
Розовый ресурс наткнулся на заявку на патент от Specialized на трансмиссию для даунхильного байка Demo с UBB/OBB-подвеской.
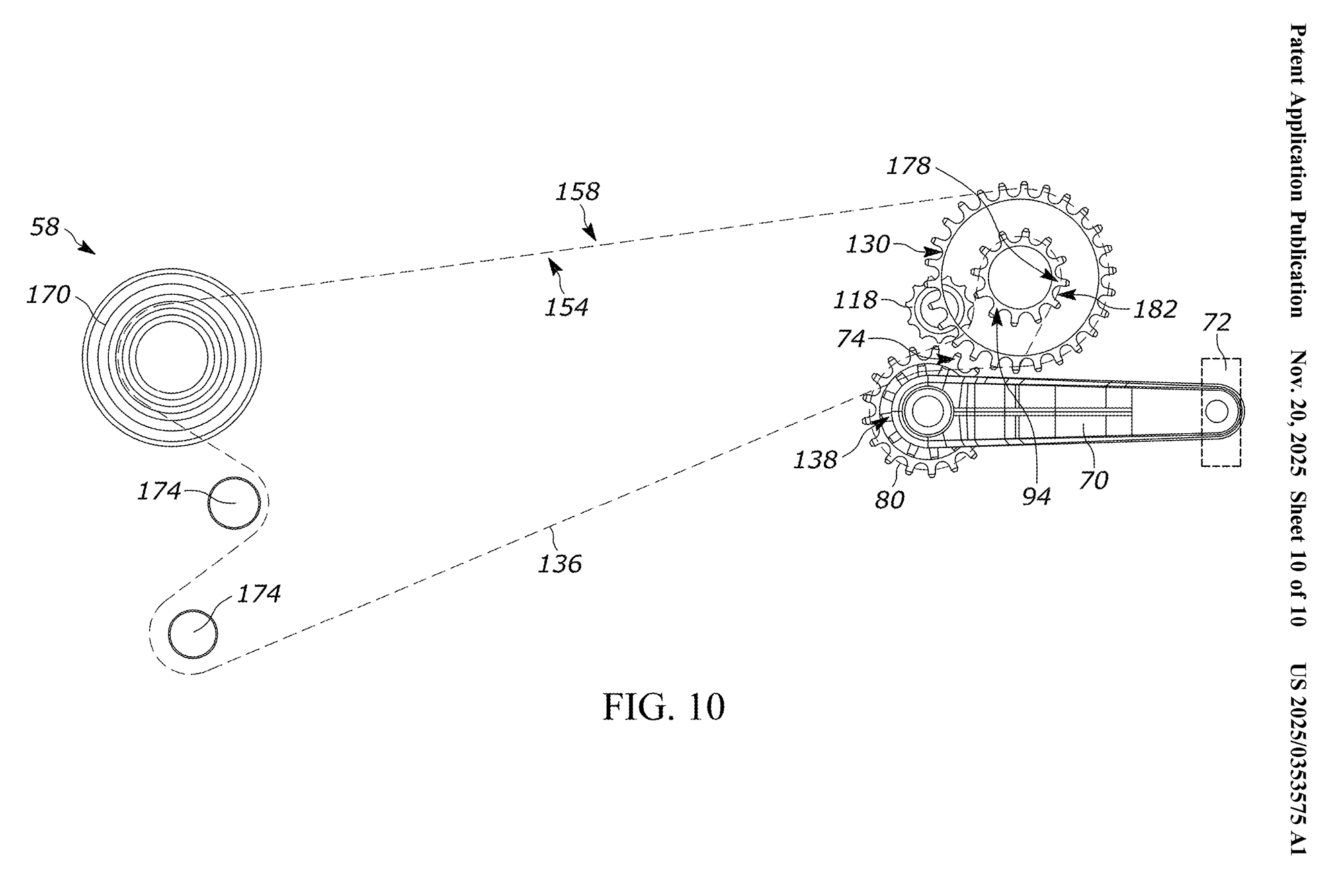
Как вы помните — осенью 2023 года Specialized запатентовали свою новую компоновку подвески UBB (under bottom bracket — под кареткой), которую мы могли лицезреть на прототипах новой Demo ещё с лета 2022. В феврале 2025 в сети появилась фотка новой компоновки прототипа Demo с какой-то странной коробкой в районе каретки, в которой сразу угадали наличие дополнительной цепи, которая передаёт усилия от шатунов на внешнюю ведущую звезду. Саму компоновку подвески обозвали OBB (over bottom bracket — над кареткой), так как теперь все тяги проходили уже над ней. Уже в августе выкатили карбоновую версию этой рамы и стало понятно, что именно таким в серию пойдёт новый Demo (формы для запекания карбона стоят конских денег, и даже очень богатый Specialized уже не делает прототипы таким образом). Теперь Specialized выкатили заявку на патент № US 2025/0353575 A1 от 20 ноября 2025 года с такой конструкции трансмиссии.
Как всё устроено?
Как и предполагалось: на оси шатунов в каретке есть дополнительная ведущая звезда, которая через внутреннюю цепь передаёт вращение на ещё одну внутреннюю звезду, а уже с той через вал вращение передаётся на внешнюю ведущую звезду. У внутренней цепи есть свой натяжитель, который не даёт цепи болтаться на неровностях. Также на каретке есть свободно вращающийся ролик, который помогает огибать внешней цепи сам шатун.
— Внешний вид со стороны правого шатуна.
— Вид без внешней цепи и крышки, которая прикрывает внутренний механизм. Хорошо видно натяжитель для внутренней цепи (в патенте также упоминается возможность использовать вместо цепи ремень).
— Тот же узел без внутренней цепи.
— Шлицевое соединение на оси шатунов, на которое сажается внутренняя ведущая звезда.
— Холостой ролик на оси шатунов, который помогает внешней цепи огибать шатун. На самой оси он фиксируется гайкой.
— Вид конструкции сверху.
Зачем?
У обывателя может возникнуть резонный вопрос — зачем городить такую конструкцию? Как признавались в одном из видео механики Specialized, одна из главных причин — такая конструкция помогла им сделать желаемые характеристики подвески и при этом «отвязать» её от педалей (в самом патенте пишут про анти-скват и педал кик), при этом не жертвуя удобством посадки и высотой каретки. С такой компоновкой можно сделать заметное смещение оси заднего колеса назад при срабатывании подвески и натяжение цепи не будет страдать. Можно изменить передаточное соотношение на звёздах, при этом характеристики работы подвески не изменятся никак (вытекающий отсюда плюс чуть ниже). Также у байка всё в порядке с клиренсом, а внутренний механизм трансмиссии прикрыт кожухом. Минусы: потери КПД на всём этом нагромождении цепей и роликов, а также сложность изготовления и обслуживания.
Также приводится чуть другая мотивация. Патент прямо указывает, что этот узел можно адаптировать не только под даунхилльный байк, но и под (вы уже угадали) электричку! Благодаря игре с соотношением звёзд внутри можно оптимизировать всё это дело под установку электромотора. Причём можно как сделать электричку, так и полноценный электромопед, которому педали будут не нужны. То есть это не только фишка «Demo», а базовый модуль трансмиссии, который можно использовать и на других платформах, включая электрички. А мы знаем, что в Specialized активно работают над своими электромоторами, даже несмотря на то, что самим производством занимается Brose (которых этой весной купила Yamaha). Так что при желании, чтобы интегрировать электромотор в такую «коробку» у Specialized есть все возможности.
-
добавить в избранное
- +68
- Мнения
?
Комментировать
Зарегистрируйтесь или авторизуйтесь. Сделайте что-нибудь.










Комментарии (17)
slopestyler
Wild_Cat
kuzlich
ZhdenVRN
kravt
Alexander_skh
GeraRuckus
alzz
-Лучше! Мы в отдельную огромную корпусировку размером с коробку сделали и запилили туда вторую цепь и собственно всë.
— А хоть какие-то плюсы есть?
— ККонечно есть. Там повышение оборотов выходного вала в 2раза!!!… Правда и звезда на шатунах в 2 раза меньше… И по итогу на выходе та-же линейная скорость цепи....
Но главное — мы всë запатентовали и теперь в 2 цепи никто не сможет байки делать (даже те, кто так сделали раньше нас).
Zato1
Понятно, что это пока не у того Демо, что нам обещают скоро, но потенциально почему бы и нет.
Chute
salient11
_va
FeelBetter
спеш запатентовал Cannondale Fulcrum DH bike 1998 года?
SupraSan
Logoffski
9009l3
agressor