Новое железо — Патент на коробку с мотором SRAM Eagle Powertrain
Это должно было случиться — Sram патентуют свою версию MGU (motor gearbox unit — узел мотор коробка) на 12 скоростей с электронным переключением передач.
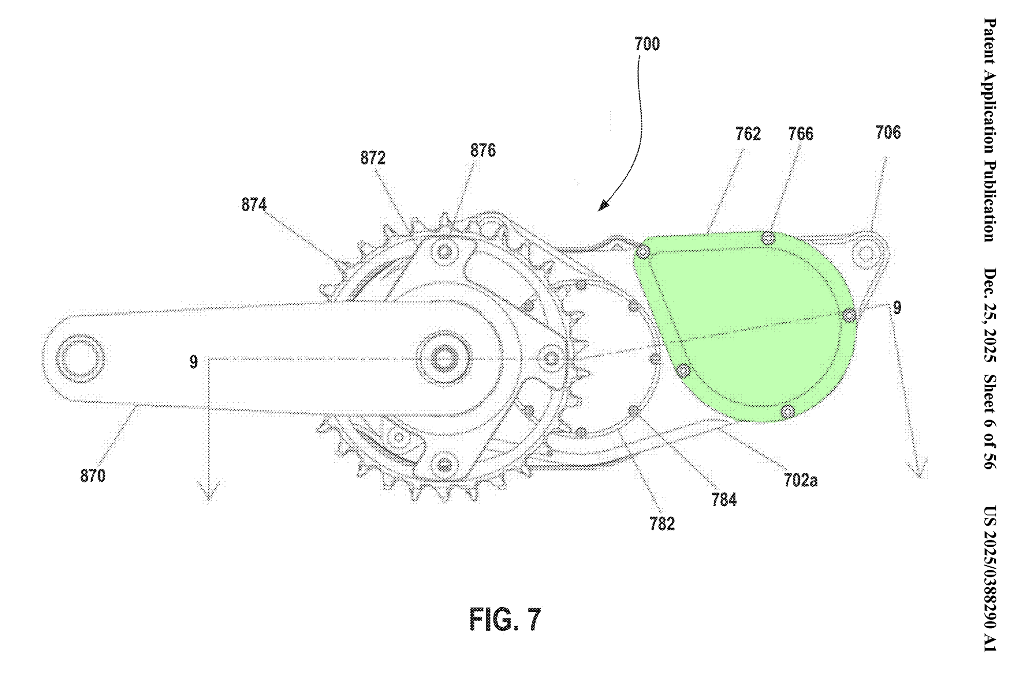
Розовый ресурс делится новостью о свежем патенте Sram № US 2025/0388290 A1 от 25 декабря 2025 года (подан 15 июня 2025). В патенте описывается узел мотор-коробка SRAM Eagle Powertrain. Sram говорят, что традиционные переключатели подвержены серьёзным нагрузкам на электричках, и страдают из-за избыточного крутящего момента, а мотор-коробка должен лучше подходить под такое использование. Конструкция коробки выполнена без особых ухищрений, если не считать механизм выбора передач с собачками хитрой формы, и по логике работы слабо отличается от той же коробки Pinion (можно подробнее почитать про конструкцию здесь). Сам мотор и его редуктор выделены на картинках зелёным цветом.
И мотор не просто прикрутили к коробке внутри одного корпуса. Для правильной работы сборку снабдили парой сенсоров и отдельным сервоприводом, который отвечает за переключение передач. Один из датчиков считает обороты мотора сервопривода переключения, второй датчик точно знает положение вала коробки относительно кулачков активации передач. Электронный блок управления всегда знает какая включена передача и в каком положении находятся собачки выбора передачи, так что может оптимально выбрать момент переключения, временно снизить мощность электромотора и переключить передачу так, чтобы не повредить собачки выбора передачи. Да, переключение передач полностью электронное. При этом конструкция позволяет переключать передачи очень быстро. В патенте описывают «микросекундную» реакцию на переключение. Кроме того, описана и возможность реализации автоматического переключения передач в зависимости от каденса и крутящего момента, а также возможность регулировки параметров переключения между передачами самим пользователем.
Как уже было сказано — в коробке аж 12 передач, что круто для связки мотор-коробка и соответствует практически единственной связке мотор-коробка на рынке Pinion MGU. Передачи покрывают диапазон в 504%, что чуть меньше стандартных 520% для традиционной версии 12-скоростной MTB-трансмисси от Sram, но с учётом наличия электромотора — вполне себе годно. Табличка с передаточными числами для каждой передачи и шагом между каждой передачей ниже.
Коробка на электричке несёт очевидные плюсы: нужно меньше запариваться с обслуживанием, а перенос веса в район каретки ещё больше улучшит управляемость и облегчит работу подвески. Но дойдёт ли дело до реализации — покажет время.
-
добавить в избранное
- +42
- Мнения
?
Комментировать
Зарегистрируйтесь или авторизуйтесь. Сделайте что-нибудь.






Комментарии (17)
FeelBetter
Эдак, в самом деле, годкам к 50 можно будет себя порадовать оцифровкой, и не делать голову этими переключателами, кассетами и прочей с(т)ран(н)отой.
Logoffski
Электронные переключатели уже из разряды непонятной роскоши — уже вполне доступными стали, и Б.У. рынок позволяет и вовсе за цену средней механики собрать axs кит… Может и тут SRAm завалит нас оем коробками и насобираем электро-Кувалд на коробасах…
Zato1
amstafff
Zato1
Chute
Ротвильд этот, николай, да парочка симплонов, булсов, и прочей безвестной братии.
Всяких хардтейлов-ситибайков на mgu сравнительно немало, а вот подвесов пока что ну очень ограниченный выбор.
Так что, ежели срамные энжонеры одолеют, то рынок может изрядно прирачти разнообразием.
А там и шимано подтянется, да и джай наверрняка в эту сторону чешутся уже.
Logoffski
ну и в ситибайках и турингах есть еще всякие-там втулки многоскоростные (да еще некоторые и с автоматическим переключением), а в мтб это уже прям давно неактуально…
Zato1
amstafff
Zato1
dicrousbuild
SilentS
lokki
kuzlich
Да и там сервопривод не пытается перекусить вам цепь, если будет превышена нагрузка — переключение замедлиться. В сравнительном тесте пинкбайка — «Медленный T-tupe» спокойно переключал в гору без лишнего шума, а шимана di3 с каким-то диким скрежетом под нагрузкой пыталось втыкнуть скорость — как будто дед забыл, что надо сцепление выжимать и пытается втыкнуть скорость...
А с равнение с грипшифтом и вовсе имеет мало общего с реальным использованием — да там можно прокрутив руку наизнанку прощелкать за раз всю кассету, но это почти полная потеря управляемости. Да и 12 скоростной игл всегда хотелось сделать 11 скоростным — чтоб за 2 проклика на -5 передачь переключать на 52-й блин. А на электронике зажал гашетку и крути пока не переключит до крайней.
Zato1
Если я всё правильно понял из текста, то это автоматическая коробка. Так же?
yurtsa
ferum