Новое железо — Сальники с портом для смазки
Старая идея в новой обёртке, встречайте: сальники с портом для смазки!
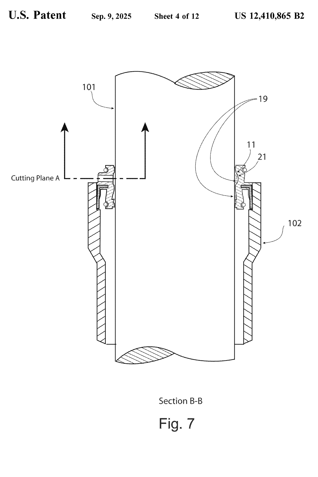
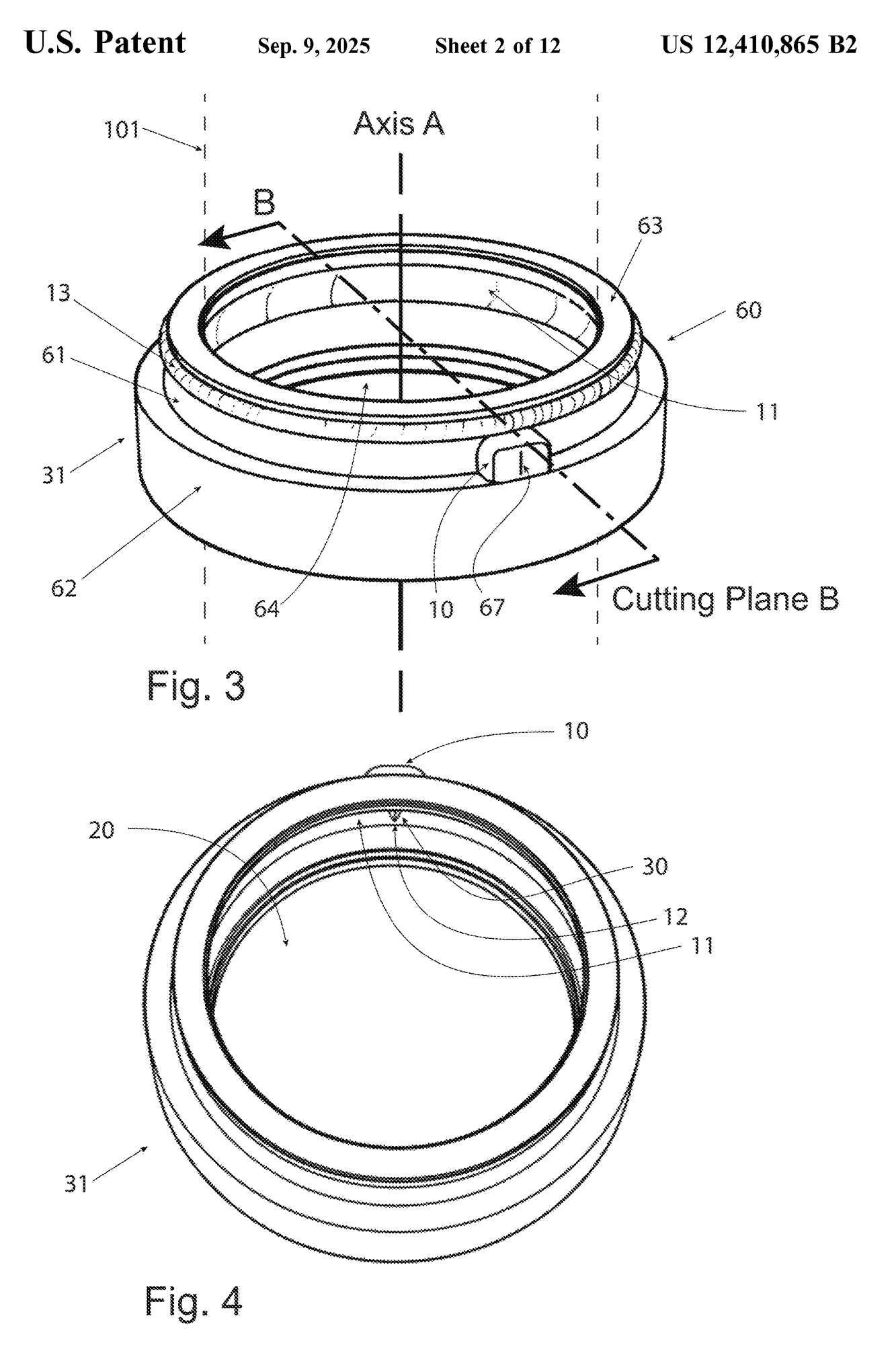
Розовый ресурс рассказывает про интересный патент US № 12 410 865 Джоела Аарона Шрока (Joel Aaron Shrock), выданный 9 сентября 2025 года, заявка подана 5 ноября 2021 года. Возможно вы застали специальные порты для подачи густой смазки к подшипникам на старых машинах, так называемые «тавотницы». У кого-то даже были такие штуки на нижнем линке V10. Патент Джоела реализует ту же самую идею только для сальников вилки. Но вместо густой консистентной смазки к ногам вилки будет подаваться жидкая смазка.
Сам сальник не шибко отличается от стандартных сальников на обычной телескопической вилке, только у него есть специальный порт для «шприцевания» (отмечен зелёный) и небольшие резервуары для хранения жидкого масла (салатовые). Нижняя кромка сальника сделана так, чтобы жидкое масло не стекало вниз, в штаны и не уменьшало их внутренний объём. Избыточная и грязная смазка должна выходить через верхнюю часть сальника наружу.
Порт для прокачки сделан так, чтобы через него внутрь не попадала грязь, обычном положении «губки» порта прокачки сомкнуты. Сам порт может быть выполнен так, чтобы кончик шприца не косался самой ноги.
Если все будет работать так, как я задумал, то помимо снижения трения сальники могут продлить срок службы [между ТО] на 30-50%. Такая ванна из масла может задерживать мусор до того, как он попадет в штаны, а затем вымывать его при повторном заполнении уплотнения, благодаря чему вся система будет дольше оставаться чистой. Благодаря лучшему уходу и смазке, обеспечиваемым внутренней масляной ванной, износ уплотнений также должен снизиться, что позволит уплотнениям и маслу в штанах дольше оставаться в рабочем состоянии. — Джоел Шрок
План Джоела — продать лицензию на сальники какому-то производителю уплотнений, вроде SKF. Розничная цена должна быть в районе 35-40$.
-
добавить в избранное
- +40
- Мнения
?
Комментировать
Зарегистрируйтесь или авторизуйтесь. Сделайте что-нибудь.






Комментарии (11)
Хотя там прямая речь «если всё будет работать так, как я задумал...» орёт о том, что сам хз чтл он придумал. Т.е. блять даже рабочего прототипа нет) Конечно же всякие SKF кинутся покупать кота в мешке)
За 35...40 $ я сам сниму штаны с вилки и заново смажу всё)
Идея хорошая, воплощение пока вызывает вопросики.
GeraRuckus
Работать такая процедура вполне может, если нижнее уплотнее (в сторону штанов) сделать более плотным, чем верхнее (наружу).
Но вот только возникает вопрос, как в целом такой пыльник-сальник работать будет, насколько эти сопли потом будут лезть наружу при обычной эксплуатации.
SilentS
С остальным согласен.
Вангую, что лезть будут наружу ровно как и после классической переборки: 2...3 покатухи будут вылазить кольца.
GeraRuckus
SPY
GeraRuckus
SPY
П.С.:
Помню такие и на интенсах и на йети с рельсами)
amstafff
Понятно, что хитрые обойдутся (и уже обходяться) без таких сальников, но для всех остальных райдеров если вилка без мелких телодвижений будет работать «дольше и мягше» — то это хорошо.
Chute
albus
FeelBetter
yurtsa