Новое железо — Углубления на ногах RockShox Boxxer
Мы уже касались темы новых ног RockShox Boxxer в интересностях из боксов Лейк Плейсид. Вчера появилась заявка на соответствующий патент, который подтверждает догадки по поводу назначения таких углублений.
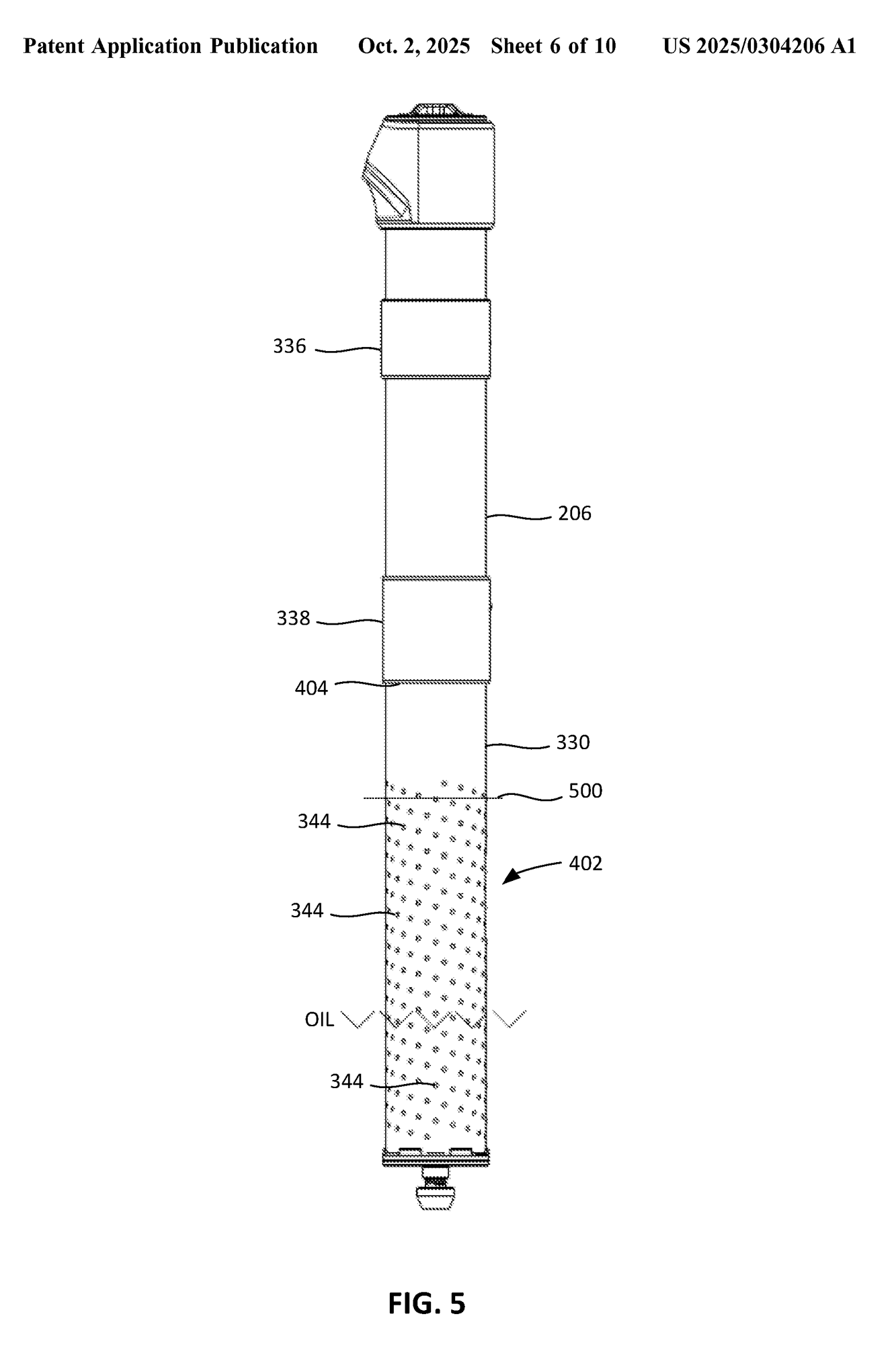
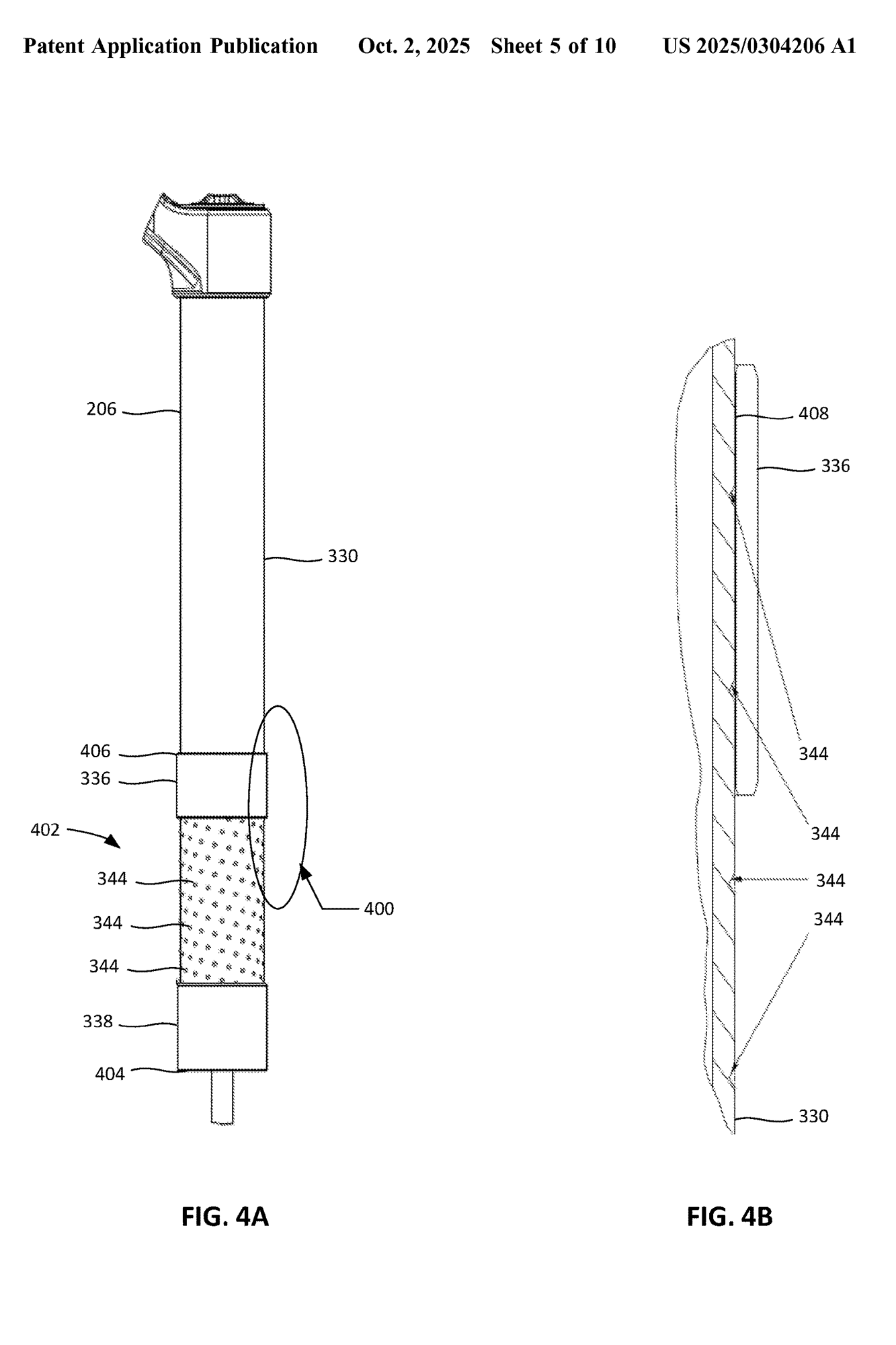
Заявка на патент № US 2025/0304206 A1 от 2 октября 2025 (подана 2 апреля 2024) подтверждает, что углубления на ногах должны служить для улучшения смазки башингов. В отличие от прорезей в башингах, где те нужны для доступа к ним масла — здесь по задумке авторов после сжатия вилки часть масла за счёт поверхностного натяжения задержится в углублениях и напрямую будет доставлена до башингов в фазе разжатия вилки.
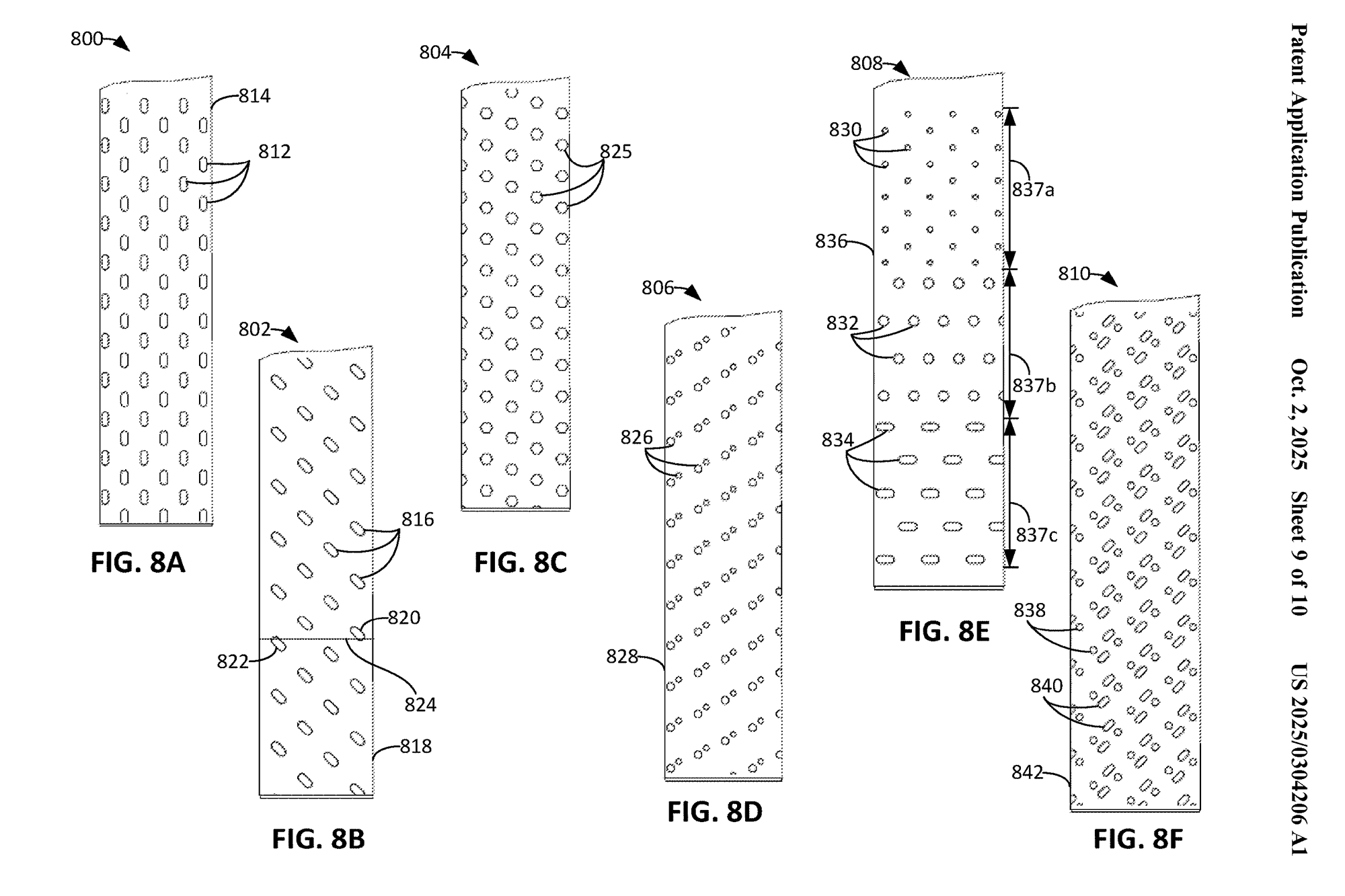
Даже несколько вариантов исполнения углублений в патенте придумали.
Кроме множества небольших углублений также предполагают вариант с проточкой небольшой канавки на внешней стороне ноги. Нечто похожее можно встретить на внутренней поверхности кастомных ног от ND Tuned.
Как вы помните — рыжехвостые конкуренты из Fox в свежих вилках решили вопрос по более простой схеме — просто добавили канал-отливку на ногах, по которому во время работы масло будет подниматься к башингам.
Зато Ник Бентли наделал больше качественных фотографий обновлённых ног.
Особо внимательные даже заметят, что углубления нанесены по спирали. Возможно это как-то улучшает процесс смазки.
-
добавить в избранное
- +58
- Мнения
?
Комментировать
Зарегистрируйтесь или авторизуйтесь. Сделайте что-нибудь.











Комментарии (26)
Для Кувалды сойдёт...
Chute
_va
Redrider
slopestyler
SPY
SilentS
спирали видно
ZhdenVRN
Как сделать лунки? Сверление, штампование и
литье. При штамповке наверняка получится выступающий микро-ободок на поверхности (как у кратора) — убрать можно, но, чую, не быстро / дорого. Сверление — лунок много… тоже не быстро / дорого. Из чего выходит, что эта интересная штука, несмотря на простоту, будет только в лухарных версиях вилок.ps Еще с этими дырками, наверное, не получится вот так просто взять и протереть ноги от грязного масла.
el_cane
sav
GeraRuckus
Ямки внизу ног, внутри штанов
amstafff
el_cane
Качество не очень, но предположу сверление, т.к. ямки очень похожи на конические и без выдавливания материала по краям, что было бы характерно для штамповки. Плюс штамповка неизбежно портила бы геометрию на внутренней поверхности, что, очевидно, не приемлемо
SPY
agressor
Как же им лень переворачивать ляс вверх ногами меж заездов)
GeraRuckus
el_cane
— А что это у вас ноги вилки в царапинах?
— Это чтобы бушинги лучше смазывались!
SilentS
SheriF
Chute
Chusch
ЗЫ Кого-то время лечит, кого-то калечит…
NixonElite
SheriF
Zato1
kuzlich
На штанах с внутренней стороны сделать колесико (как раньше на динамо-машинах для фонарей) с приводом на механический маслонасос. Сделать сетку, которую надо мыть каждые 25 моточасов (типо как фазовращателях/gdi/vtec), замена маслонасоса каждые 150 моточасов (износ от песка), продажа дорогих стендов промывки маслофорсунок от Fox, которые надо снимать каждые 100 моточасов. Колесо крутится — масло мутится.
4ogori
lokki