Новое железо — SRAM патентуют воздушную регулировку отскока
А также новую версию клапанов для стравливания давления и обновлённую компоновку беспроводных переключателей AXS.
Воздушный отскок
В патенте US №2025/0326458 A1 от 19 апреля 2024 (опубликован 23 октября 2025) предлагают добавить в конструкцию воздушной пружины регулировку высокоскоростного отсока. Кто периодически следит за новинками — в курсе, что у ND Tuned есть вилка полностью построенная на воздухе, там и демпфер воздушный. Видимо, принцип примерно такой же.
Представьте, что в воздушную пружину добавили дополнительную позитивку. Только вместо подвижного поршня она выполнена в виде отдельной камеры. При срабатывании вилки воздух из основной воздушной камеры (где срабатывает воздушный поршень) проходит в эту воздушную камеру благодаря разнице давлений, за это отвечают несколько отверстий внизу камеры (502a, 502b и 500), прикрытые шайбой (436), как в шимстеке (только там шайбы регулируют проход масла, а здесь проход воздуха). Как только заканчивается сжатие вилки и начинается отскок — шайба перекрывает порты для прохода воздуха и воздух начинает стравливаться в основную воздушную камеру через небольшое отверстие (500). Конструкция изображена на рисунках 4 и 5.
А если мы хотим регулировать скорость стравливания воздуха — можно добавить регулируемый клапан, поворотом которого можно будет играться с размером отверстия для стравливания воздуха из дополнительной камеры в основную, как на рисунке 7. На рисунках шайба отмечена жёлтым, а направление стравливания воздуха отмечено зелёным. Более подробный рисунок регулируемого клапана показан на заглавном фото, его можно отрегулировать шестигранником сняв крышку топкепа, что будет открывать или закрывать отверстия для прохода воздуха 760a, 760b, 760c.
Как уже было сказано выше — значительный вклад в работу такая конструкция вносит на высоко-скоростном отскоке. А на низкой скорости срабатывания вилки воздух успевает проходить через клапан достаточно быстро, чтобы его вмешательство в работу отскока было не особо заметно.
Обычно за регулировку высоко-скоростного отскока отвечает крутилка в демпфере, но не на всех демпферах она есть. Например, как в демпфере Charger 3.1, где две компрессии и только низкоскоростной отскок. На рисунке 13 показана кривая силы пневматической пружины без демпфера, а на рисунке 14 с использованием такого воздушного демпфера.
Клапаны для стравливания давления
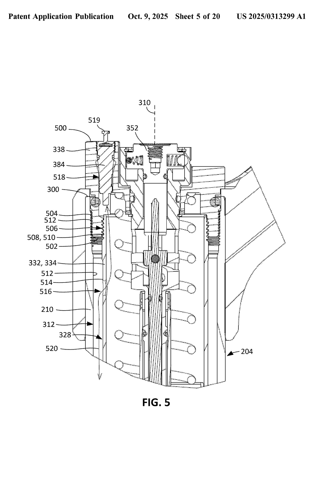
Вы наверняка помните эпопею суда между Fox и Sram по поводу клапанов для стравливания давления и конструкции демпфера, на которые компании потратили несколько десятков миллионов долларов. Вроде как этим летом спор завершился и суд встал на сторону Sram, решив, что решения вполне логичные и не могут быть запатентованы. Но 9 октября 2025 был опубликован патент US №2025/0313299 A1 от 19 апреля 2024, в котором Sram предлагала несколько вариантов интеграции таких клапанов в топкепы, а-ля Manitou, и даже в корону вилки. Едва ли теперь эти решения будут использоваться.
Новый беспроводной переключатель AXS
В патенте US №2025/0319944 A1 от 16 октября 2025, подан 24 июня 2025, можно посмотреть на новую версию беспроводного переключателя с короткой лапкой. Именно такую версию переключателя мы уже видели на Кубке Мира в этом году у гонщиков команды Commencal MucOff и YT Mob.
В патенте указано, что переключатель использует новую версию мотора. Видимо, коротколапые переключатели станут первыми в обновлённой линейке со второй версией мотора.
Вот такие обновки у Sram.
-
добавить в избранное
- +47
- Мнения
?
Комментировать
Зарегистрируйтесь или авторизуйтесь. Сделайте что-нибудь.














Комментарии (3)
FeelBetter
Zato1
IUSius