Новое железо — Универсальный соосный тормозной адаптер от Shimano
Shimano патентуют свою версию универсального соосного тормозного адаптера. Как и ожидалось — патентуемый дизайн уже использовался несколькими несвязанными с компанией производителями рам и встречался в других патентах.
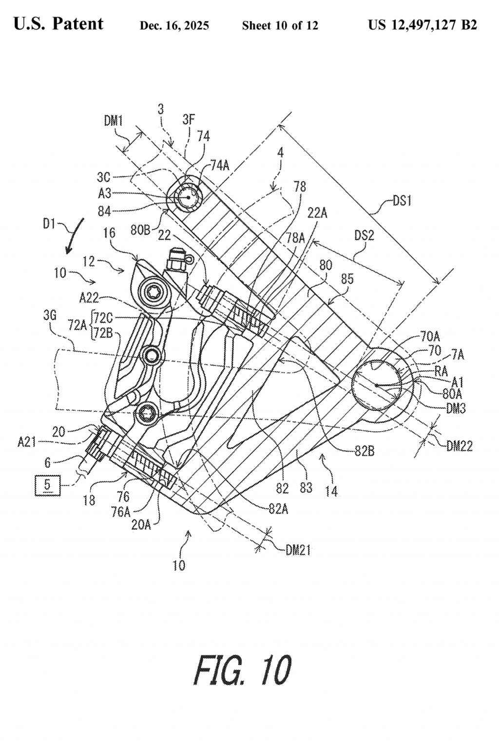
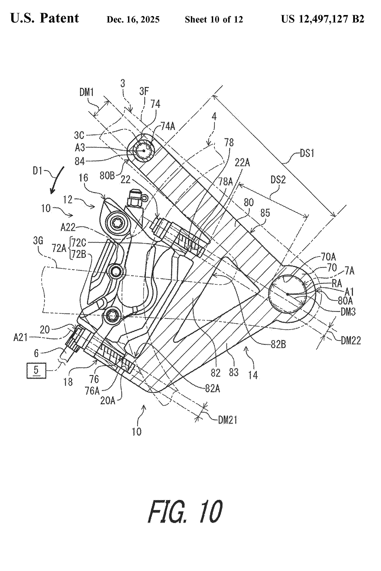
Если вы словили дежавю — это неспроста! Этой зимой тов. SergeiPikulin уже рассказывал про патент соосного крепления тормоза Universal Brake Mount (UBM), которое пытаются запатентовать SRAM. Причём летом 2024 года Shimano уже подали заявку на патент с похожим креплением калипера к раме, только в ней в калипере был интегрированный адаптер, который точно также крепился на раму. Что же, теперь Shimano пытаются запатентовать такое крепление для тормозного адаптера. Пинк наткнулся на патент US №12497127 B2 от 16 декабря 2025 (дата подачи заявки 2 декабря 2022), который описывает устройство такого тормозного адаптера.
Ключевая идея, описанная в патенте — точно позиционировать калипер относительно тормозного диска. Причём адаптер можно будет использовать как на заднем тормозе, так и на переднем, на соответствующей вилке. Крепление позволит избежать перекосов, что должно минимизировать неравномерный износ колодок, а также уменьшить шум и вибрации. Дополнительны бонусом выступает то, что на такое крепление можно будет спокойно установить адаптер с местом для установки пары калиперов (не забывайте, патент от японцев). А производители рам и вилок смогут слегка упростить свои железки, ведь адаптер требует всего одной закладной в пере. Сама закладная может быть как в верхнем, так и в нижнем пере.
Забавно, что заявка на патент SRAM была заполнена в тот же день, когда заявку заполнили Shimano. Только SRAM отправили заявку на год раньше — в 2021 году, но патент пока так и не получили. Однако как мы уже убедились по предыдущим патентным войнам между Fox и Sram — судебная коллегия с лёгкостью может постановить, что часть патентных требований являются непатентоспособными, поскольку они очевидны или являются логичным развитием существующих технологий. А такой тип крепления калипера существует с бородатых 90-х годов. В одной из предыдущих тем тов. FeelBetter делился картинкой с байком Schwinn Straight, который для крепления тормоза использует похожий адаптер.
-
добавить в избранное
- +48
- Мнения
?
Комментировать
Зарегистрируйтесь или авторизуйтесь. Сделайте что-нибудь.








Комментарии (28)
maxxis
madfrog
https://en.wikipedia.org/wiki/Mert_Lawwill
schmel
amstafff
mor
pustota
жопомеромакселерометром. Я ездил на машине с brake by wire, об этом узнал только когда позже читал про неё — после того, как там внезапно в повороте обнаружился задний привод вместо вездесущщего переднего)lokki
Так-то понятно, что обратную связь можно реализовать, но это усложняет и утяжеляет конструкцию, что в Авто не так критично как в Вело.
А реализовать на радио-модельных сервах — не проблема при наличии 3дПринтера и/или доступа к фрезерному станку. Сервы достаточно мощные давно существуют. Но… чем мощнее — тем тяжелее + их надо чем-то кормить, так же как и сервы обратной связи, если городить и их
pustota
Zato1
Всегда мечтал, чтобы гидра пиздец как выпирала ниже ижнего пера, все же их калиперы с банджо, верно? Шимано как всегда в своём репертуаре.
GeraRuckus
DennisBlack
Chute
1234
GeraRuckus
SilentS
amstafff
А если приглядеться хорошенько?
Logoffski
Кстати, там видимо можно крутить аморт в ушке кронштейна и настраивать гео чутка)
Апд: а могли бы так:
GeraRuckus
schmel
Что при этом у амммморта пружина сжимается — это уже его внутрення жизнь. Реально работающих на растяжение пружин в амммммортах я не видел; в том же скотт эквалайзер просто позитивка и негативка поменяны местами и при работе подвески позитивка сжимается, но это не мешало всю жизнь называть их работающими на растяжение.
SilentS
schmel
amstafff
SergeiPikulin
Fox Dyad RT2 вроде выглядят одинаково, но на самом деле их есть несколько моделей (отличается размер\ход), надо быть внимательним при покупке.
mor
casher2011
9009l3
schmel
SPY